Техническа характеристика
Продукт : Бутон за щори (двупозиционен моментен превключвател)
Серия : Edge TEM
Цвят : Хром
Номинален ток : 16A
Номинално напрежение : 250V AC
Тип бутон : Момент (върти се в неутрална позиция след натискане)
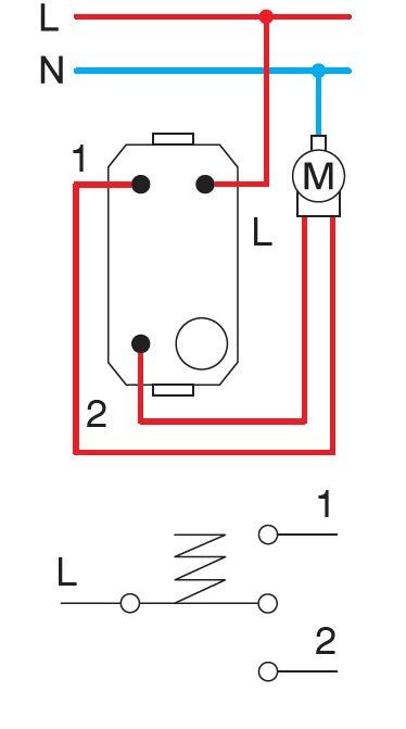
Функция : Управление на моторизирани щори, завеси или ролетни системи (нагоре/надолу)
Монтаж : Вграден
Материал : Висококачествен термопласт с хромирано покритие
Съвместимост : С рамки от серия Edge TEM
Индикация : Без / осветление възможност за версия с подсветка (в зависимост от модела)
Производител : TEM Čatež, Словения
Стандарти : Отговаря на европейските изисквания за електрообзавеждане (EN стандарти)